Bulk Retail Order Processing
High-volume retail purchase order processing with pallet builds, case packing, and floor-ready merchandise prep
Talk to a FounderBulk Retail Order Processing
Order Aggregation
Consolidate orders from various platforms like Shopify and EDI into a unified processing queue.
Zone-Based Picking
Optimize pick routes by dividing the warehouse into zones, reducing picker travel time.
Precision Packing
Orders packed with custom specifications, ensuring each meets brand and retail compliance.
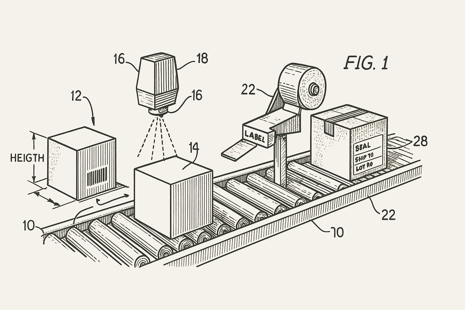
Comprehensive Labeling
Generate and apply retail-compliant labels including GS1-128 and ASN documentation.
Carrier Coordination
Select optimal carriers based on negotiated rates and delivery timelines.
Real-Time Tracking
Push tracking details back to platforms promptly after dispatch for visibility.
Bulk Order Processing Workflow
Order Release
Prioritize and release orders by urgency and retail compliance requirements.
Efficient Picking
Assign pickers to specific zones, ensuring rapid order collection and accuracy.
Packing and Verification
Every package undergoes a detailed scan and visual check before sealing.
Carrier Dispatch
Organize packed orders by carrier, ready for pickup by the end of the business day.
Error Resolution
Address any discrepancies immediately to prevent delays in order fulfillment.
Operational Safeguards
Service Standards
Industry Fit
Our bulk retail order processing is tailored for a variety of industries, each with unique requirements and compliance standards.
Retail Chains
Manage high-volume order flows with strict retail compliance and routing guides.
Ecommerce Giants
Handle large-scale orders with multi-platform integration and real-time updates.
Subscription Services
Consistently meet renewal cycles with precise inventory management and timely dispatch.
Health & Wellness
Comply with FDA requirements and ensure lot-tracking for supplements and health products.
Electronics Providers
Secure handling of serialized and high-value items with specialized packaging.

Supplement brand with lot/expiration tracking, EDI compliance, and transparent cost-plus billing.

Austin grooming brand shipping fragile liquids in right-sized cartons with labor-based billing.
Case Studies
100%
Order Accuracy
Hardcover journal fulfillment with lot-level tracking per print run, optimized void-fill packaging, and transparent cost-plus pricing.
Read case study →
0
Product Damage
Fragile grooming products shipped in right-sized cartons with labor-based billing and same-day promotional kit assembly.
Read case study →
FEFO
Lot Rotation
Supplement fulfillment with lot and expiration tracking, multi-channel barcode control, and EDI compliance for iHerb.
Read case study →
0
Kitting Errors
Microbiome testing kits with 5–30 components assembled via barcode-validated scanning and linked return tracking.
Read case study →
100+
Active SKUs
PPE and air filtration fulfillment with barcode-validated picking across 100+ SKUs, brand-specific QC, and packaging engineering.
Read case study →
100%
QR Attribution
Luxury direct mail with serialized QR codes, white-glove kitting, and temperature-controlled material storage.
Read case study →
30%
Shipping Savings
Subscription HVAC filter fulfillment with DIM-weight optimization, SKU complexity management, and carrier negotiation.
Read case study →
0
Breakage Rate
Premium Shabbat kits with fragile glass handling, gift-ready presentation standards, and founder-led quality control.
Read case study →
Mon–Wed
Ship Days
Cold-chain lab supply fulfillment with ship-day rules, temperature-controlled packaging, and next-day carrier optimization.
Read case study →
FDA
Registered Facility
ASTM Level 3 PPE distribution with lot-level traceability, compliant documentation, and multi-channel fulfillment.
Read case study →
0
Assembly Errors
TIME Best Inventions respirator with multi-component kit assembly, component-level inventory, and configuration validation.
Read case study →
500+
Addresses/Campaign
Y Combinator-backed corporate gifting with multi-address batch processing, personalization accuracy, and holiday surge capacity.
Read case study →